知財レポート
Report
- 日本判例研究レポート
- 知財判決例-侵害系
ワインセラー及び霜取り制御方法 損害賠償請求事件
事件の概要
| 判決日 | 2025.11.26 |
|---|---|
| 事件番号 | R5(ワ)70738 |
| 担当部 | 東京地裁 |
| 発明の名称 | ワインセラー及び霜取り制御方法 |
| キーワード | 構成要件充足、クレーム解釈 |
| 事案の内容 | 本事案は、損害賠償請求事件であり、原告の請求が棄却された。被告製品が「前記加温ヒーターを停止した後の冷却器周辺温度が「第3の温度(「第2の温度」<「第3の温度」)」に達した場合に、前記コンプレッサーを再起動する」という構成を備えるか否かが争われた。 |
事案の内容
【手続の経緯】
平成29年 4月 5日 本願特許出願(特願2017-74863号)
平成30年 6月 8日 設定登録(特許第6347076号)
令和 5年 本件訴訟提起
令和 7年11月26日 請求棄却判決
【特許請求の範囲】
(下線は筆者追記)
【請求項1】
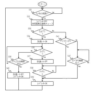
A コンプレッサーを使用した冷却方式を採用し、冷却サイクルによって冷却器に付着した霜を溶かす霜取り機能を有するワインセラーにおいて、
B 前記冷却器の近傍に配置され、冷却器周辺温度を検知する温度センサーと、
C 前記冷却器に付着した霜を溶かすために冷却器周辺温度を上昇させる加温ヒーターと、
D 所定のタイミングに達した場合に、前記コンプレッサーを停止するとともに前記温度センサーにより検知された冷却器周辺温度をチェックし、当該冷却器周辺温度に基づいて前記加温ヒーターを起動するか否かを判断する制御部と、を備え、
E1 前記制御部は、前記所定のタイミングで前記温度センサーにより検知された冷却器周辺温度が、前記冷却器に霜が付着する可能性のある温度として規定された「第1の温度」以下の場合に、前記加温ヒーターを起動し、
E2 前記加温ヒーターを起動した後の冷却器周辺温度が「第2の温度(「第1の温度」<「第2の温度」)」に達した場合に、前記加温ヒーターを停止し、
E3 さらに、前記加温ヒーターを停止した後の冷却器周辺温度が「第3の温度(「第2の温度」<「第3の温度」)」に達した場合に、前記コンプレッサーを再起動する、
F ことを特徴とするワインセラー。
本件特許図1-1

本件特許図9

(以下、判決文の一部を抜粋する。下線筆者追記)
【被告製品の構成】
ア 基本的な構成(甲4、5、10及び11)
イ号製品は、コンプレッサーを使用した冷却方式を採用するワインセラーであり、冷却器の近傍に配置された温度センサーと、冷却器周辺温度を上昇させる加温ヒーターと、所定のタイミングに達した場合にコンプレッサーを停止する制御部を備えている。
ロ号製品は、コンプレッサーを使用した冷却方式を採用する上下二室構造のワインセラーであり、各室の冷却器の近傍に配置された温度センサーと、各室の冷却器周辺温度を上昇させる加温ヒーターと、所定のタイミングに達した場合にコンプレッサーを停止する制御部を備えている。
イ 加温ヒーターの停止及びコンプレッサーの再起動に係る設定
被告製品は、加温ヒーターの停止とコンプレッサーの再起動を冷却器周辺温度によって制御している。また、被告製品の動作を制御するパラメータ(以下「パラメータ」という。)のうちP6(霜取りを停止する冷却器温度)とP11(ヒータ停止冷却器温度)は同じ温度に設定されている(イ号製品につき5℃又は20℃、ロ号製品につき3℃)。
また、被告製品には、上記各パラメータの設定にかかわらず、コンプレッサーの停止からコンプレッサーの再起動までの間にコンプレッサーを保護するための待機時間を設ける構成(以下「コンプレッサーの保護機能」という。)を有している。(甲4、5)
(中略)
【争点1(構成要件E3の充足性)について】
【原告の主張】
ア 構成要件E3の意義
構成要件E3の「冷却器周辺温度が「第3の温度(「第2の温度」<「第3の温度」)」に達した場合に」とは、冷却器周辺温度が設定温度を超えるか否かに着目した動作制御を行うものであるから、結果的に冷却器周辺温度が設定温度を幾分超過した場合であっても、構成要件E3の充足性は左右しない。このことは、【請求項4】の所定のタイミングについての記載及び本件明細書の【0056】において第3の温度に達しない場合にコンプレッサーが再起動されることが想定されていることからもいえる。
イ 被告製品の構成
原告の実験(甲10、11)により確認された被告製品の動作(温度の実測値)に照らせば、実際には、①「P11の設定温度未満の温度」で加温ヒーターを起動し、②「P11の設定温度プラス1℃の温度」で加温ヒーターを停止し、③「P6の設定温度プラス1℃の温度より高い温度」でコンプレッサーを再起動するよう制御されている。したがって、上記①の温度<上記②の温度<上記③の温度となる。
このように、被告製品では、被告製品のパラメータについて、加温ヒーターを停止させる温度(P11)とコンプレッサーを再起動させる温度(P6)が同じ温度に設定されていても、コンプレッサーを再起動させる温度(上記③の温度)は加温ヒーターを停止させる温度(上記②の温度)を上回り、上記②の温度<上記③の温度である。
なお、被告製品の冷却器周辺温度センサーは、仕様上0.1525℃ごとの刻みで温度変化を計測するから(甲15)、冷却器周辺温度センサーの仕様上、上記③の「いずれか高い方の温度を超えた温度」とは、具体的には、「P6の設定温度プラス1℃プラス0.1525℃」となり、上記③の温度は上記②の温度を上回る。
ウ 構成要件E3の充足性
(ア) 上記①の温度は「第1の温度」に、上記②の温度は「第2の温度」に、上記③の温度は「第3の温度」に相当するから、「「第2の温度」<「第3の温度」」であり、被告製品は、構成要件E3を充足する。
(イ) 被告は、コンプレッサーの保護機能を理由に構成要件E3の充足性を争うが、本件発明は、冷却器周辺の温度変化に応じて加温ヒーターの起動、停止及びコンプレッサーの再起動が段階的に生じることにより加温ヒーター停止後の露の滴下時間を確保するものであり、被告製品もそのような動作をしている以上、コンプレッサーが停止した後、所定の時間が経過するまでコンプレッサーが再起動しないことがあることは、構成要件E3の充足性を左右しない。なお、P13はコンプレッサーの保護機能のパラメータではなく、コンプレッサーの保護機能による待機時間は原告の実測実験(甲16)の結果、3分20秒である。
【被告の主張】
ア 構成要件E3の意義
構成要件E3は、第2の温度より高い任意の温度でコンプレッサーを再起動するというものではなく、予め設定された「第3の温度」という一定の温度に達した場合に、その定められた温度で必ずコンプレッサーが再起動されるというものである。
イ 被告製品の構成
(ア) 被告製品において、加温ヒーターを停止させる温度(P11)とコンプレッサーを再起動させる温度(P6)は同じ温度に設定されており、「第2の温度」より高く設定された「第3の温度」による制御は行われていない。
(イ) 原告の実験(甲10)では、コンプレッサーが再起動する温度として設定された温度(P6)と、実際にコンプレッサーが再起動したときの温度が異なっており、温度による制御がどのように行われているかが明らかではない。また、わずか1回の実験結果から、被告製品の制御部が、ある一定の温度に達した場合に加温ヒーターを停止し、当該温度より高い温度に達した場合にコンプレッサーを再起動するという温度制御に係る構成を有していることを認めることはできない。
(ウ) 被告製品において、コンプレッサーの再起動時の温度が加温ヒーターの停止時の温度より高くなり得るが、これは、コンプレッサーの保護機能が優先される結果であって、原告の主張する温度による制御が行われていることを裏付けるものではない。コンプレッサーの保護機能は、P13のパラメータ(コンプレッサー停止から次回起動までの遅延時間)により設定され、待機期間は約6分である。
被告が行った複数回の実験(乙8)において、加温ヒーターの停止とコンプレッサーの再起動が同時に動作する様子が観察されており、これは、被告製品の制御部が、ある一定の温度に達した場合に加温ヒーターを停止し、当該温度より高い温度に達した場合にコンプレッサーを再起動するという制御をしていないことを示している。
ウ 構成要件Eの充足性
以上によれば、被告製品は、少なくとも構成要件E3を充足しない。
【裁判所の判断】
(中略)
2 争点1(構成要件E3の充足性)について
⑴ 構成要件E3の意義
ア 構成要件E3は、「前記加温ヒーターを停止した後の冷却器周辺温度が「第3の温度(「第2の温度」<「第3の温度」)」に達した場合に、前記コンプレッサーを再起動する」というものであり、これは「制御部」(構成要件D及びE1)が行う動作を規定するものである。また、「第2の温度」は、冷却器周辺温度が当該温度に達した場合に制御部において加温ヒーターを停止する温度(構成要件E2、D及びE1)である。
以上の特許請求の範囲の記載の文言によれば、構成要件E3は、制御部が、加温ヒーターを停止した後の冷却器周辺温度が、当該温度に達した場合に制御部において加温ヒーターを停止する所定の温度(「第2の温度」)より高い所定の温度(「第3の温度」)に達した場合にコンプレッサーを再起動することをいうものと解される(以下、このような構成を「構成要件E3の構成」という。)。
本件明細書の、冷却器36の周辺温度Eを監視中に、Eが2℃に達した場合、制御回路11は、加温ヒーター25を停止すること(【0055】)、Eが3℃に達した場合、制御回路11は、コンプレッサー31を再起動すること(【0056】)の記載もこのような解釈に沿うものである。
イ これに対し、原告は、構成要件E3の「冷却器周辺温度が「第3の温度(「第2の温度」<「第3の温度」)」に達した場合に」とは、冷却器周辺温度が設定温度を超えるか否かによって動作制御を行うものであるから、結果的に冷却器周辺温度が設定温度を幾分超過した場合であっても、構成要件E3の充足性は左右しないと主張する。その主張の趣旨は必ずしも明らかではないが、上記アのとおり、第2の温度及び第3の温度は、いずれも、所定の温度を指すものであるから、第3の温度を超える任意の温度でコンプレッサーを再起動することを意味するものではない。
⑵ 被告製品の構成及び構成要件E3の充足性
(中略)
ウ そこで検討するに、原告の実験は、コンプレッサーが再起動した際の温度は、加温ヒーターが停止した際の温度より2℃(イ号製品)ないし6℃(ロ号製品)高いというものであり、被告製品の制御部が、加温ヒーターを停止させる温度より「0.1525℃」高い温度でコンプレッサーを再起動させる構成を有していることをうかがわせるものではないから、被告製品が本件構成を有することを示すものとはいえない。また、被告の実験も、被告製品の制御部が、加温ヒーターを停止させる温度より「0.1525℃」高い温度でコンプレッサーを再起動させる構成を有していることをうかがわせるものではなく、被告製品が本件構成を有することを示すものとはいえない。
また、原告の実験及び被告の実験の一部(❸のロ号製品)において、加温ヒーターを停止した際の温度よりコンプレッサーを再起動した際の温度の方が高いという結果が得られているが、コンプレッサーの再起動の際の温度はまちまちであり、被告製品の制御部が、加温ヒーターを停止する所定の温度より高い所定の温度に達した場合にコンプレッサーを再起動するという構成要件E3の構成を有することを基礎付けるものとはなっていない。さらに、被告の実験の一部(❸のイ号製品)においては加温ヒーターを停止した際の温度よりコンプレッサーを再起動した際の温度の方が低いから、被告製品が構成要件E3の構成を有することと整合しない。
以上によれば、被告製品が本件構成を有しているとは認められないし、被告製品が構成要件E3の構成に相当する構成を有していることを認めることもできない。
エ よって、被告製品が構成要件E3を充足するとはいえないから、被告製品について、本件発明の技術的範囲に属するということはできない。
(中略)
【結論】
以上によれば、その余の点について判断するまでもなく、原告の請求はいずれも理由がないから、これらを棄却することとして、主文のとおり判決する。
【所感】
「第3の温度に達した場合」との構成が、単に第2の温度を超える任意の温度ではなく、予め設定された所定温度に達した場合に限定されると解釈された。
明細書および本訴訟における原告の主張を踏まえても、本発明のポイントは、「冷却器周辺の温度変化に応じて加温ヒーターの起動、停止及びコンプレッサーの再起動が段階的に生じることにより加温ヒーター停止後の露の滴下時間を確保する」ことであり、「第3の温度」に達するか否かは発明の構成上それほど重要でないように思われる。
したがって、メインクレームではコンプレッサーの再開契機を温度に限定しない形で記載し従属項で限定する記載としたり、「第2の温度以上である場合」のように、再起動のタイミングを特定しすぎない形で記載したりすることで、発明のポイントを押さえつつ被告製品を技術的範囲に含ませることができた可能性もある。